PVC-C G41F-10V Type B Membranventil med flens DN15-100 1/2"-4" ANSI Standard

Ultra-slitesterk høytemperatur manuell Ny PVC-C flensmembranventil for sure væsker og vannforsyning, ANSI Standard
Produktnavn: PVC-C membranventil
Farge: Grå
Størrelse: DN15–DN300
Modell: G41F-10V
Søknad: Generelt
Materiale: Plast
Middels temperatur: Høy, Middels
Trykk: Middels
Strømforsyning: Manuell
Medium: Syre
Portstørrelse: DN15–DN300
Struktur: Diafragma
Tilkobling: Flensende ende
Sertifikat: ISO9001
Medium: Syre
Trykkklasse: 1,0Mpa(10bar)
Ventiltype: 1-veis
Tetning: EPDM F46
Leveringstid: 7 dager
Minimum bestillingsantall: 1 stk.

Produktets strukturelle egenskaper
1. Tetningsmembranen er laget av F46 eller PFA, med en bøyeutholdenhet på ≥120 000 sykluser og korrosjonsmotstand tilsvarende F4.
2. Ventilen har en skrueløftende struktur, med lavt driftsmoment og utmerket stabilitet.

App temperatur bundet liste

Materialeee Middels temperatur℃ Materialeee Middels temperatur℃
PVC-C -20℃~95℃ PVC-U -5℃~45℃
FRPP -20℃~120℃ PPH -20℃~110℃
PVDF 40℃~150℃

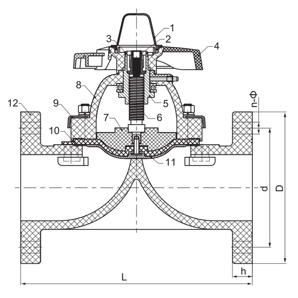
Delmaterialetabell
Nei. Navn Material Antall.
1 Dekningsgrense AS 1
2 Limit Mutter StellSteel 1
3 Holdering 65 Mn 1
4 Hjul Legeringsmateriale 1
5 Mutter Kobber 1
6 Stem Kobber 1
7 plate PVDF 1
8 Panser PVC-C, PVC-U, PVDF, PPH, FRPP 1
9 Plate Q345/Stell 1
10 Flim EPDM 1
11 Diafragma F46/PFA/PTFE 1
12 Kropp PVC-C, PVC-U, PVDF, PPH, FRPP,PTFE 1

Dimensjonsliste

Spesifikasjon d
(mm)
D
(mm)
L
(mm)
b
(mm)
n-Ф
(mm)
1/2" (15) 60 95 125 14 4-Φ16
3/4" (20) 70 105 135 18 4-Φ16
1" (25) 79 115 145 18 4-Φ16
1¼"(32) 89 135 160 18 4-Φ16
1½" (40) 98 145 180 20 4-Φ16
2" (50) 121 160 210 23 4-Φ19
2½" (65) 140 180 250 24 4-Φ19
3" (80) 152 195 300 28 8-Φ19
4" (100) 191 229 350 29 8-Φ19

Tilbakemelding på melding
Om oss
Kaixin Pipeline Technologies Co., Ltd.
Grunnlagt i 1999, Kaixin Pipeline Technologies Co., Ltd. er en høyteknologisk bedrift som integrerer FoU, produksjon, salg og service. Selskapet har flere prestisjetunge sertifiseringer, inkludert National High-Tech Enterprise, "Little Giant" Specialized and Sophisticated SME, National Single Product Champion (Cultivation), Provincial Technology-based SME, Ningbo Specialized and Sophisticated SME, Ningbo Single Product Champion (Cultivation), Ningbo PolymerD Center for Green Pipe & Factory Technology, N-Leveling Technology, N-Leveling Technology. Innovasjon Enterprise og Enterprise Data Management Capability Modenhetsnivå 2.
Vi er spesialister på å utvikle, produsere og levere ikke-metalliske korrosjonsbestandige produkter for kjemiske applikasjoner, inkludert plastventiler, rør, rørdeler og korrosjonsbestandige pumper. Vår produktportefølje spenner over materialer som PVC-C, PVC-U, PVDF, PPH og FRPP, med et omfattende utvalg av typer og spesifikasjoner. Spesielt kan våre spjeldventiler nå DN1000 i diameter, mens rør og fittings strekker seg opp til DN800, og adresserer markedshull og opprettholder vårt konkurransefortrinn i bransjen.
Veiledet av prinsippet om "teknologidrevet, holde tritt med tiden", tildeler Kaixin nesten 10 millioner RMB årlig til FoU. Vi sikrer overlegen produktkvalitet gjennom standardisert automatisert produksjon og streng innkjøp av importerte råvarer. I tråd med vår internasjonale utviklingsstrategi overvåker vi kontinuerlig globale markedstrender og utnytter digitale kanaler for å bringe høykvalitets "Made in China"-produkter til kunder over hele verden.
Ningbo • Fenghua FoU og produksjonsbase
Med en total investering på RMB 200 millioner har Kaixin Ultra-Pure Pipe Technology (Ningbo) Co., Ltd. etablert et nytt materiallaboratorium i samarbeid med universiteter og forskningsinstitutter, bygget en moderne produksjonsbase og installert 8 helautomatiserte produksjonslinjer for modifisert plast og 8 for polymermaterialer. Anlegget er dedikert til FoU, produksjon og bruk av nye modifiserte plast- og polymermaterialer. Kaixin er også forpliktet til å tiltrekke topptalent på tvers av disipliner, kontinuerlig drive produktinnovasjon og merkevareutvikling, med målet om å bli en globalt anerkjent leder innen FoU og produksjon av polymerventiler, rør og fittings.
Hedersbevis
  • honor
  • honor
  • honor
  • honor
  • honor
  • honor
  • honor
  • honor
  • honor
Nyheter